SGA-501C/502C/504C/506C系列
无线单一/二合一/四合一/六合一气体检测仪

一、 固定式无线气体检测仪产品概述
SGA-501C/502C/504C/506C系列无线多合一气体检测仪是米优app下载安装(股票代码:681434)将十多年气体检测仪生产经验与无线传输技术有机融合,自主研发生产的一款、性能稳定、安全可靠的无线气体检测仪表;产品无需布线,即可无界限地实现数据无线远传;无论您身在何处,都可通过米优app下载安装物联网平台的电脑PC端或手机APP客户端实时查看、分析或导出监测数据。还可绑定个人微信,数据异常时自动消息提示;SGA-501C/502C/504C/506C系列无线气体检测仪可根据客户需要任意搭配1-6种目标气体组合,气体种类不限,检测量程不限,采样方式不限,分辨率不限,并支持选配温湿度、PM2.5、PM10粉尘颗粒物检测功能;产品采用工业级外观设计,严格遵照GB50493-2009《石油化工可燃气体和有毒气体检测报警设计规范》研发生产,并取得相关的CPA型式批准证书、国家防爆证和第三方计量证书和外观专利证书等;
SGA-501C/502C/504C/506C系列无线气体检测仪采用米优app下载安装典型的家族式盾形外观设计,配备工业级铝合金防护外壳,坚固耐用;2.4英寸超大屏幕,完美显示目标气体、浓度、单位、指示灯、工作状态等各项参数;中英文、繁体,操作界面,适合所有人群;目标气体超标自动报警,风机、阀门等设备的联动;仪器三级报警点、平台报警条件、报警方式自由设置;客户可通过物联网平台接收短信、微信、邮箱、语音等方式接收报警信息,提醒相关人员进行处理;强大的数据存储功能,不仅支持无线检测仪本地进行存储数据,也可通过物联网平台存储数据,自由设置存储间隔时间,实时生成历史记录、历史曲线、报警记录、数据导出、监测时间、设备定位等;国外原装进口芯片,精度高、稳定性强、误差率低;ZIGBEE、NRF、WIFI、GPRS多种无线信号传输,无线模块可将采集的无线信号发给相应的采集系统,上传给PLC、DCS、DDC等上位机系统;全量程温湿度补偿智能运算,32位纳米级微处理器+24位超高ADC采集芯片,确保产品在长期运行过程的数据稳定、传输稳定。
SGA-501C/502C/504C/506C系列无线气体检测仪除基本的气体检测、继电器输出联动设备功能外,还有许多行业内首创的最新技术应用;如智能校准、智能提醒、一键消音、数据存储、三级报警、量程修改、报警方式多样、平台场景化、个性化设置、截取时间段数据、自主命名、添加多个联系人、流量提醒等功能,开放设备内部权限,使得客户拥有最大的自主权;按照气体数量的多少,为SGA-501C系列无线单一气体检测仪、SGA-502C系列无线二合一气体检测仪、SGA-504C系列无线四合一气体检测仪和SGA-506C系列无线六合一气体检测仪,具体区别请参照下面产品参数列表。
二、固定式无线气体检测仪产品特点
◆1-6种气体任意组合,支持1000多种检测
兼容1000多种易燃易爆、有毒气体、挥发性气体检测
1-6种气体任意组合、技术原理不限、检测范围不限
◆智能传感技术,自动识别扩展,一机多用
内置米优app下载安装预标定好的智能气体传感器,即插即用,自动识别
可通过更换不同的智能气体传感器,实现对现有6种气体以外的气体进行检测,一机多用,节约成本
作为易耗品的气体传感器寿命到期后,不需拆卸和返厂,直接更换智能气体传感器即可,维护方便
◆友好人机界面,完美展现各项监测数据
2.4英寸高清液晶彩屏,实时显示检测气体、检测单位、检测浓度值、温度、湿度、报警记录等信息
检测仪运用气体安全系数与颜色预警法相结合,通过可视化的颜色管理来提醒相应的安全系数
平台人性化设计,简单大方,操作简便,实时显示监测数值、日期时间等参数
◆反应灵敏、测量精准、精确度高
米优app下载安装采用32位处理芯片,可以精准识到可媲美分析仪级别的ppb浓度
米优app下载安装100%选用国外原装进口气体传感器,极大地保障了产品安全性和稳定性
全量程温湿度补偿和米优app下载安装专利数据修正功能,确保不同环境下长期使用
◆智能校准、多级修正,高低浓度线性好
零点自动校准
基准线自动修正
目标点多级校准
◆智能提醒,售后无忧
传感器故障、到期或损坏时,自动提醒
气体检测仪到达校准期限时,自动提醒校准
气体检测仪到达寿命期限时,自动提醒报废及更换新品
◆检测单位自由切换,检测量程可大可小
米优app下载安装支持切换的单位有umol/mol、ppm、ppb、%LEL、%VOL、mg/m3、ug/m3、g/m3、mg/l、g/l等
检测量程可根据实际需求,将浓度扩大或缩小
◆多种信号输出可选,传输多样化
米优app下载安装提供无线远程方式有:WIFI、ROLA、ZIGBEE、NOB-LOT、GPRS、蓝牙等
米优app下载安装提供有线远程方式有:RS485、RS232、4-20mA、0-5V、以太网口等
默认无线GPRS传输,确保数据传输稳定,不受监测位置距离的影响
物联网全网能4G流量卡,通过米优app下载安装物联网平台可以实时查看消费流量
◆采样方式灵活多变,兼容性强
米优app下载安装专利设计,一个气室可自然扩散式采样,也管道式采样,也可泵吸式主动采样
◆AI监测,智能联动、安全无忧
AI智能监测,超标可自动本地声光报警、提醒人员安全撤离
检测仪内置2组无源触点继电器,达到预设报警点时智能启停相关联动设置,自动排除险情
云平台多种报警条件、报警方式灵活多变,报警信息可一人或多人接收
◆大容量数据存储,记录安全每一刻
检测仪自动存储开机时间、关机时间、故障记录和报警记录等信息,
检测仪支持10万条以上数据存储,平台支持无限条数据存储
检测仪存储间隔可在1-999秒之间任意设置,平台支持任意设置
云平台支持存储历史记录、报警记录、历史曲线、数据导出、设备定位等
云平台支持截取任意时间段的历史记录(移动式的监测设备还支持走航定位等)
◆严苛环境,应对自如
防爆外壳,防爆等级:ExdⅡCT6 Gb
专利气室设计,防护等级高:IP67
纳米涂层保护,防暴晒,防雨淋、抗酸、抗碱、抗腐蚀
工业级EMC模块,二级防雷,可在强磁和高静电环境下正常使用
高温环境下,可配套米优app下载安装专用的高温探针,支持最高800℃环境下直接采样使用
高湿环境下,可配套米优app下载安装专用的高效除尘过滤器+干燥管,支技最高99%RH环境下直接采样使用
高尘环境下,可配套米优app下载安装专用的两尘除尘过滤器,最高可过滤掉1um以上的颗粒物和粉尘
◆中英双语界面,真正的全球通
检测仪支持中文简体、中文繁体、英文操作界面自由切换,可内销,也可出口
云平台支持创建个性化物联网监控界面、云组态场景搭建
云平台个性化上传定义传感器数值,开关、图表、曲线
◆智能一键消音,避免吵闹
米优app下载安装独有一键消音功能,按键后可使检测仪蜂鸣器短时间停止报警
◆红外遥控,免开盖操作
可通过遥控器,免开盖对检测仪进行报警点、零点调整和目标点调整
◆内置数据备份,可恢复出厂设置
当现场操作失误、数据混乱时,检测仪可通过内置备份数据,恢复到出厂状态
平台监测数据加密分享,安全无忧
监测数据无需下载,所有数据服务均在云端
◆多种登陆方式,按需选择
支持手机APP、微信公众号、小程序、PC端登陆,同步查看更新管理
◆资质齐全、厂家直销
米优app下载安装先后获得100多项国家专利和荣誉证书,包括ISO9001质量管理体系认证、ISO14001环境管理体系认证、CPA型式批准证书、国家防爆证、实用新型专利、外观专利、CE证书、ROHS证书、国家检测报告、第三方计量校准证书、软件企业认证证书、中国仪器仪表会员单位、中国气体检测仪十大品牌、质量.服务.信誉AAA企业、高新杯科技小巨人奖、中国绿色环保名优企业等
三、固定式无线气体检测仪技术参数

四、固定式无线气体检测仪产品应用场所
石油石化、化工厂、冶炼厂、钢铁厂、煤炭厂、热电厂、自来水厂、医药车间、烟草公司、大气环境监测、科研院校、楼宇建设、消防报警、污水处理、工业过程化控制、锅炉房、垃圾处理厂、地下隧道、输油管道、加气站、地下管网检修、室内空气质量检测、食品加工、杀菌消毒、冷冻仓库、农药化肥、杀虫剂生产等。
五、固定式无线气体检测仪安装高度

六、产品导购
米优app下载安装另有
七、固定式无线气体检测仪产品命名规则

八、物联网云平台
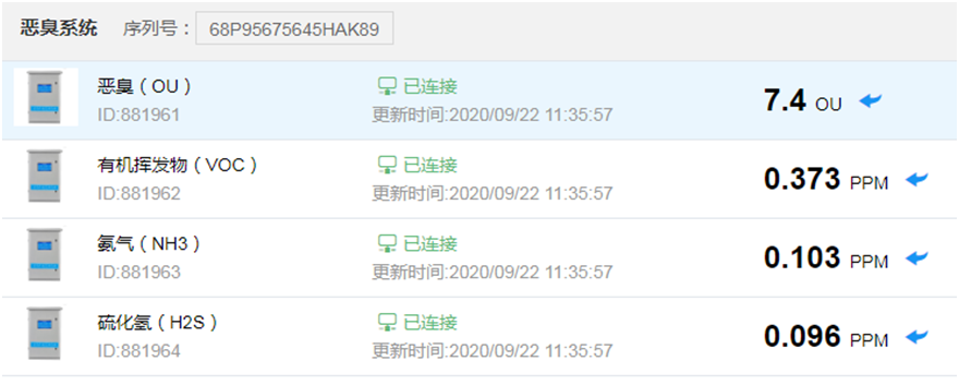
米优app下载安装SGA-501C/502C/504C/506C系列无线气体检测仪搭配米优app下载安装专用物联网云平台,实现气体无线检测的需求,免去客户复杂布线的麻烦。安装调试完成后可直接在物联网平台中读取检测数值,查看气体检测状态,生成历史曲线,分析气体检测数值。同时米优app下载安装物联网云平台还支持SGA-500系列无线气体检测仪、SGA-608系统手提泵吸式气体分析仪、SGA-800系列报警控制器、SGA-900系列预处理型在线监测系统、SGA-900系列恶臭在线监测系统等设备。无论多少台检测设备都可接入到平台中,且可进行各个气体监测设备的定位,实现气体检测的工业化、数据化、智能化管理、提升工作效率。满足客户气体监测的需求。

设备工作状态


设备定位

历史记录

报警记录

米优app下载安装常见气体选型

※另有1000种气体和量程可选,详细请咨询米优app下载安装销售人员!